Installing Side Glass

  1. The unit has 2 channels, one on the top and one on the bottom to hold the side glass.
  2. Insert the glass at an angle in to the top channel.
  3. Swing the bottom edge of the side glass in to the unit. See Figure 1.1.
  4. Slide the glass down in to the bottom channel.
  5. Push the glass back as far as it will go to make installation of the front glass easier. See Figure 1.2.
Glass Installation - Switch Electric Fireplaces 1

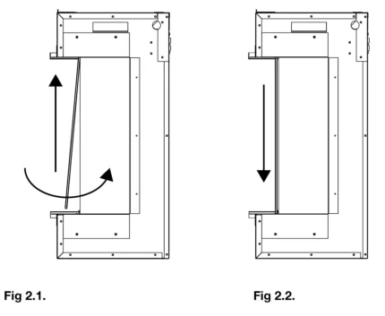
Installing Front Glass

  1. The unit has 2 channels, one on the top and one on bottom to hold the front glass.
  2. Using the included suction cups, insert the glass at an angle in to the top channel.
  3. Swing the bottom edge of the front glass in to the unit. See Figure 2.1.
  4. Slide the glass down in to the bottom channel. See Figure 2.2.
Glass Installation - Switch Electric Fireplaces 2